来源:考试1002020-01-17 16:45:44阅读数:7128
2019年宁夏一级消防工程师考试已经尘埃落定,紧接着就是备考2020年新一轮考试,2020年宁夏一级消防工程师考试报名时间暂未公布,考试100小编根据往年宁夏一级消防工程师报名时间,预计2020年宁夏一级消防工程师报名时间为8月中旬至下旬,具体时间以官方通知为准。
往年宁夏一级消防工程师报名时间
2019年:8月28日起
2018年:8月23日起
2017年:8月11日起
2016年:8月12日起
点击进入:2020年一级消防工程考试报名入口
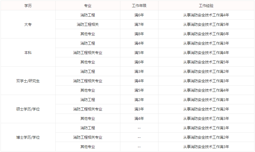
2020年宁夏一级消防工程师报考工作年限要求(参考2019年)

以上便是考试100小编整理的“2020年宁夏一级消防工程师考试报名时间预计”,关注考试100“一级消防工程师”栏目板块,获取更多2020年一级消防工程师核心考点、历年真题、模拟试题等资料。
