来源:考试1002026-02-26 16:23:42阅读数:3836
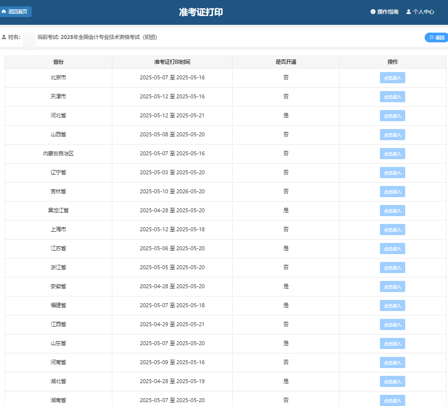
2026年初级会计打印准考证入口为全国会计人员统一服务管理平台,准考证打印时间各省于4月15日前公布。未在时限内下载打印准考证的,视作自动放弃考试。
登录“全国会计人员统一服务管理平台”(https://ausm.mof.gov.cn/index/)后点击“会计专业技术资格考试”或“考试服务”栏,按照平台提示,自行下载并打印准考证。未在时限内下载打印准考证的,视作自动放弃考试。
根据财政部发布的《关于2026年度全国会计专业技术资格考试考务日程安排及有关事项的通知》获知:2026年4月15日前,各省级考试管理机构公布本地区初级会计资格考试准考证网上打印起止时间。
以下为已公布部分地区具体初级会计准考证打印时间:
湖北准考证打印时间:4月27日至5月15日
辽宁准考证打印时间:5月1日-5月15日
甘肃准考证打印时间:5月1日至5月18日
陕西准考证打印时间:5月5日至15日
北京准考证打印时间:5月6日8:00至5月15日24:00
浙江准考证打印时间:5月6日——5月18日
江苏准考证打印时间:5月6日至5月15日
内蒙古准考证打印时间:5月6日至5月15日
山西准考证打印时间:5月7日至5月18日
云南准考证打印时间:5月8日至18日
河南准考证打印时间:5月8日至5月15日
广东准考证打印时间:5月8日至15日
河北准考证打印时间:5月11日至18日
天津准考证打印时间:5月11日——5月15日
上海准考证打印时间:5月12日10:00至5月14日24:00
第1步:登录全国会计人员统一服务管理平台https://ausm.mof.gov.cn/index/
第2步:登录成功后,点击“会计专业技术资格考试”或考试服务下的“准考证打印”按钮进入
第3步:选择“全国会计专业技术资格考试(初级)”点击进入
第4步:选择报考省份,选择“点击进入”按钮进入下一级页面,核对准考证信息是否有误。请认真核对初级会计准考证上的姓名、照片、准考证号、身份证号等信息,确认无误后,点击打印,即可成功打印。

2026年初级会计资格考试于5月16日至18日举行,共6个批次,采用无纸化考试方式,《初级会计实务》科目考试时长为105分钟,《经济法基础》科目考试时长为75分钟,两个科目连续考试,时间不能混用。
| 级别 | 考试日期 | 考试时间及科目 |
| 初级 | 5月16日至18日 | 08:30——11:30 初级会计实务 经济法基础 |
| 14:30——17:30 初级会计实务 经济法基础 |
报名参加初级会计资格考试人员均在报名所在地参加考试,所有考生的考试批次和考(场)点由系统随机安排,具体以准考证上显示信息为准。
学习资料推荐
2026年初级会计备考已开始,想要参加2026年初级会计考试人员注意,如何3个月通过初会?
点击下图进入2026年初级会计职称 如何用3个月高效通关两科,解决核心痛点
